Товар з вітрини, в експлуатації не був!
Essence Змішувач одинважільний для ванни на 4 отвори
Одноважільний змішувач для ванни і душа ESSENCE NEW на чотири отвори.
Монтується на борт ванни. Підключення душового шланга з захистом від зворотного потоку.
Плавність ходу металевого важеля забезпечує керамічний картридж.
Як регулятор струменя виступає аератор. Вилив розташований під кутом в тридцять градусів.
Змішувач оснащений обмежувачем температури.
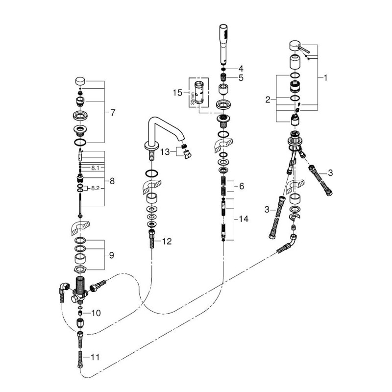
GROHE SilkMove керамічний картридж 35 мм
з обмежувачем температури
GROHE Long-Life Shine хромована поверхня
фіксатор для виливу (змонтований)
елемент керування одноважільного змішувача
металевий важіль
вилив для ванни з аератором
перемикач ванна / душ
ручний душ 27 400 000
металевий душовою шланг 2000 мм
гнучка підводка
підключення для душового шланга
із захистом від зворотного потоку
може бути використаний з 29 037 000
мінімальний тиск 1,0 бар
Комплектація:
- перемикач потоку
- вилив
- металевий душовою шланг 2000 мм
- лійка 27400000
| Характеристики | |
| Вага упаковки | 6.78 кг |
| Винос виливу, мм | 197 мм |
| Висота упаковки | 115 мм |
| Діаметр картриджа | 35 мм |
| Довжина душового шланга | 2000 мм |
| Довжина упаковки | 575 мм |
| Кількість режимів струменя ручного душа | Один |
| Наявність виливу для ванни | Так |
| Наявність душового гарнітура в комплекті | Так |
| Розташування ручки | Зверху |
| Тип монтажу змішувача | На бортик |
| Форма ручки | Паличка |
| Ширина упаковки | 370 мм |
| EAN | 4005176307195 |
| Гарантія | 72 місяців |
| Колекція | Essence |
| Країна виробник | Португалія |
| Монтаж | Зовнішній монтаж |
| Поверхня | Хром |
| Тип управління | Важільний |
